- NC車銑萬用鑽
- Nine9 90°加工
- Nine9 99616-08-8 捨棄式NC車銑萬用鑽 (迷你中心定位鑽,90度加工,低切削阻抗,適用於瑞士型自動車床)
捨棄式刀桿
- 最小尺寸的捨棄式中心鑽
- 單刃切削,孔定位超精準
- 適用於銑床,車床,切削中心機
| Order No. | Part No. | Ød | L | 刀片類型 | 螺 絲 | 板 手 |
|---|---|---|---|---|---|---|
| 99616-08-8 | BC08-CT-08 | 8 | 60 | N9MT06 | NS-22044 0.9 Nm |
NK-T7 |
捨棄式刀片 N9MT0602
捨棄式刀片
- 迷你中心定位鑽,低切削阻抗
- 適用於瑞士型自動車床
- NC2071 :• 泛用材種,適合鋼鐵,鑄鐵 •低切削阻抗 • 刀片有2個切削刃口
- NC9076 :• 適用非鐵金屬,鋁合金,鈦合金,銅合金,長切屑軟金屬 • 優異的加工表面• 刀片有2個切削刃口

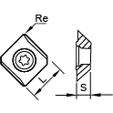
| Order No. | 鍍 層 | 材 質 | 尺寸 | Dmax. | Tmax. | ||||
|---|---|---|---|---|---|---|---|---|---|
| L | S | Re | |||||||
| N9MT0602CT | NC2071 | TiN | K20F | 6.35 | 2.38 | 0.4 | 8 | 3.8 | |
| NC9076 | DLC | K20F | |||||||
捨棄式刀片 N9MT0602